Breadcrumbs

Conecte el cable al controlador

Obligatorio   Fácil   1 min  




En el caso de la serie A, conecte el cable del botón de parada de emergencia o el control manual inteligente (opcional). Conecte la unidad de programación (opcional) y los cables del robot al controlador. 

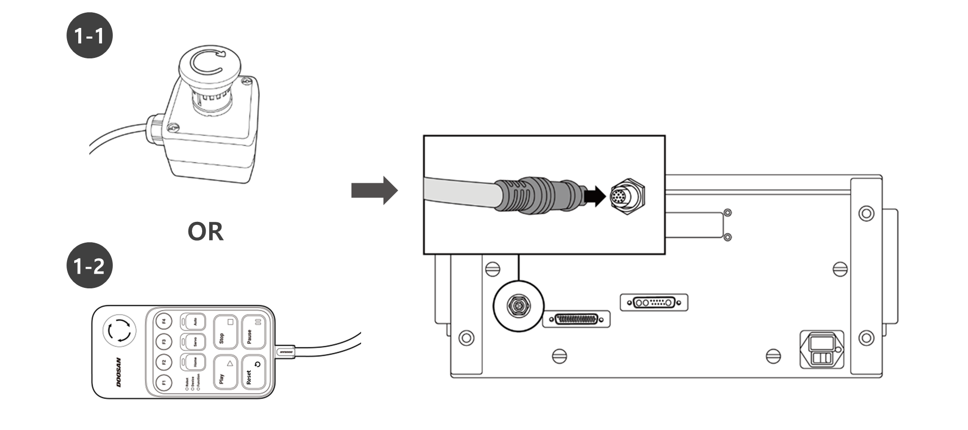
  1. Conecte el cable del botón de parada de emergencia o el cable del control inteligente colgante (opcional) al conector del controlador correspondiente y acople el bloqueo roscado girándolo en el sentido de las agujas del reloj para evitar que el cable se afloje.

  2. Empuje el cable de la unidad de programación (opcional) en el conector del controlador correspondiente hasta que se oiga un clic. Esto evitará que el cable se afloje.

  3. Empuje el extremo opuesto del cable del robot en el conector del controlador correspondiente hasta que se oiga un clic para evitar que el cable se afloje.

image2021-12-21_11-33-0.png

image2021-12-21_11-39-3.png

image2021-12-21_11-39-9.png





  • Asegúrese de que las patillas del extremo del cable no están dañadas ni dobladas antes de conectar el cable.

  • Si el ruido generado por las ondas electromagnéticas causa problemas, es necesario instalar un núcleo de ferrita para garantizar un funcionamiento normal. Para obtener más información sobre la ubicación de la instalación del núcleo de ferrita, consulte los siguientes elementos:(2.11.0.1_temp-es_ES) Conexión del manipulador y la controlador(2.11.0.1_temp-es_ES) Conexión de la controlador y el Smart Pendant(2.11.0.1_temp-es_ES) Conexión de la Controlador y el Teach Pendant