Breadcrumbs

Collegare il cavo al controller

Obbligatorio   Facile   1 min  


image2022-1-18_11-56-54.png



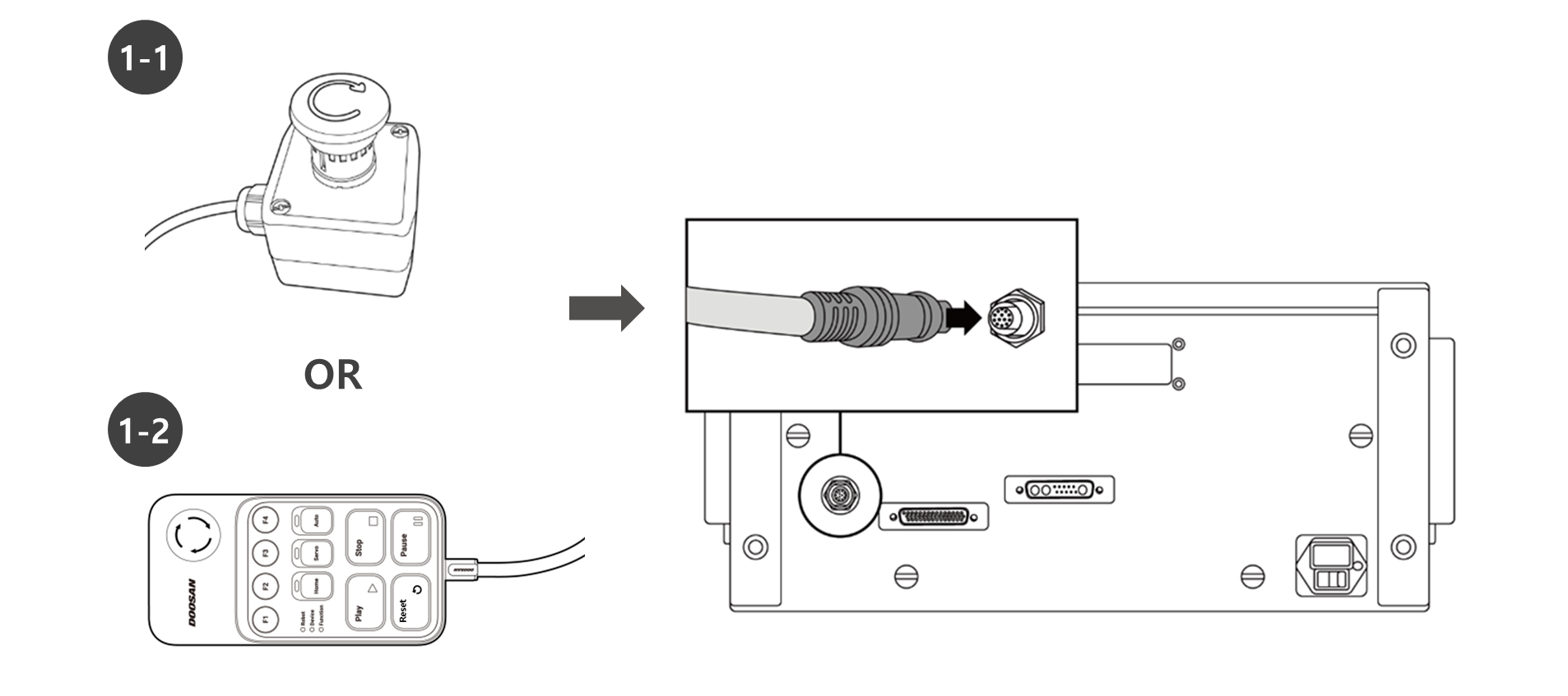
Nel caso della serie A, collegare il cavo del pulsante di arresto di emergenza o il telecomando intelligente (opzionale). Collegare il teach pendant (opzionale) e i cavi del robot al controller. 

  1. Collegare il cavo del pulsante di arresto di emergenza o il cavo del telecomando intelligente (opzionale) al connettore della centralina corrispondente e innestare il blocco a vite ruotandolo in senso orario per evitare che il cavo si allenti.

  2. Spingere il cavo del teach pendant (opzionale) nel connettore della centralina corrispondente fino a udire uno scatto. In questo modo si eviterà che il cavo si allenti.

  3. Spingere l'estremità opposta del cavo del robot nel connettore del controller corrispondente fino a udire uno scatto per evitare che il cavo si allenti.

image2021-12-21_11-33-0.png

image2021-12-21_11-39-3.png

image2021-12-21_11-39-9.png





  • Prima di collegare il cavo, accertarsi che i pin all'estremità del cavo non siano danneggiati o piegati.

  • Se il rumore generato dalle onde elettromagnetiche causa problemi, è necessario installare un nucleo di ferrite per garantire il normale funzionamento. Per ulteriori informazioni sulla posizione di installazione del nucleo di ferrite, fare riferimento a quanto segue:(2.12.4-it_IT) Collegamento del manipolatore alla centralina di comando(2.12.4-it_IT) Collegamento della centralina di comando e dello Smart Pendant(2.12.4-it_IT) Collegamento della centralina di comando alla console portatile