Breadcrumbs

Podłączyć kabel do sterownika

Obowiązkowe   Łatwe   1 min  


image2022-1-18_11-56-54.png



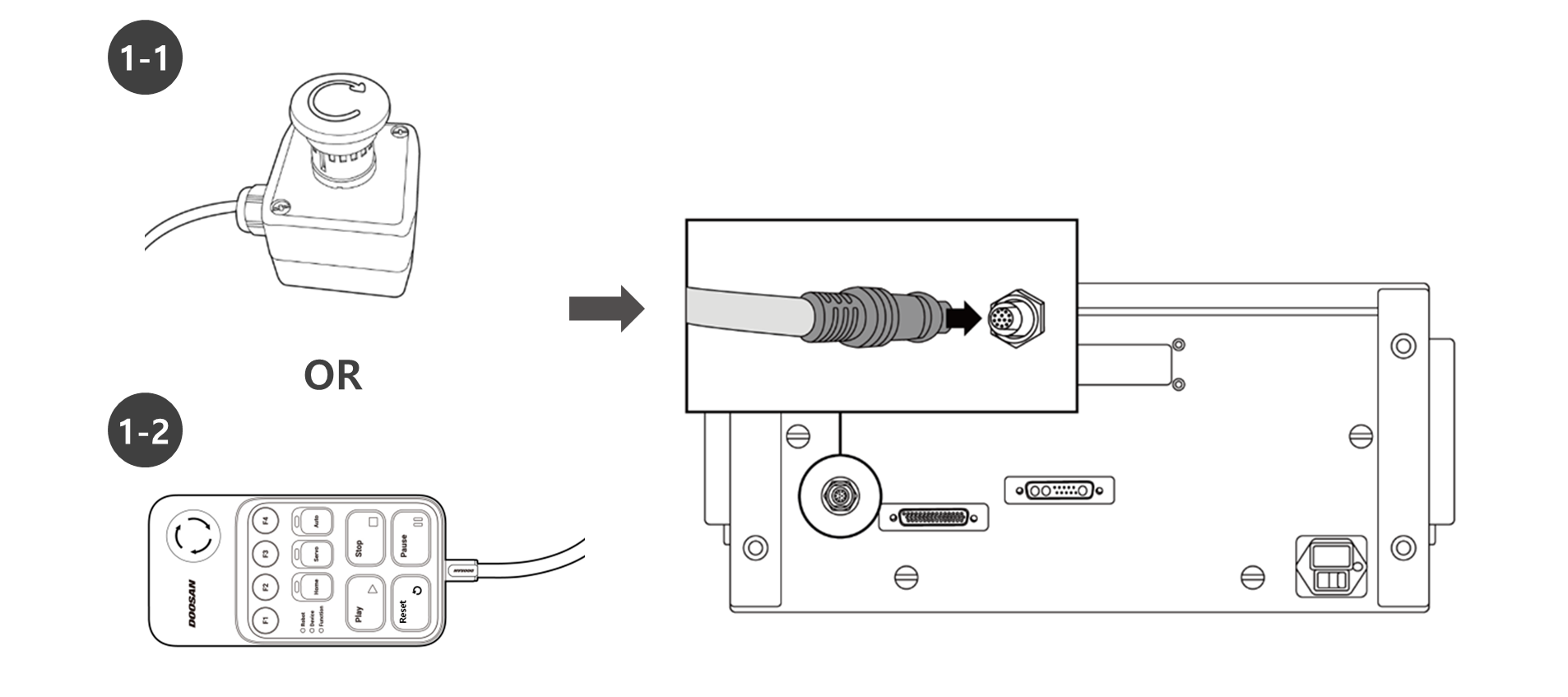
W przypadku urządzeń Serii A należy podłączyć kabel przycisku zatrzymania awaryjnego lub manipulator inteligentny (opcjonalny). Podłączyć manipulator uczyć (opcjonalny) i kable robota do sterownika. 

  1. Podłącz kabel przycisku zatrzymania awaryjnego lub kabel inteligentnego manipulatora (opcjonalny) do odpowiedniego złącza sterownika i zakręć blokadę śrubową, obracając ją w prawo, aby zapobiec poluzowaniu kabla.

  2. Wsuń manipulator (opcjonalny) do odpowiedniego złącza kontrolera, aż usłyszysz kliknięcie. Zapobiegnie to poluzowaniu kabla.

  3. Wciśnij drugi koniec kabla robota do odpowiedniego złącza sterownika, aż usłyszysz kliknięcie, aby zapobiec poluzowaniu kabla.

image2021-12-21_11-33-0.png

image2021-12-21_11-39-3.png

image2021-12-21_11-39-9.png





  • Przed podłączeniem kabla upewnij się, że styki na końcu kabla nie są uszkodzone ani zagiąć.

  • Jeśli hałas generowany przez fale elektromagnetyczne powoduje problemy, należy zainstalować rdzeń ferrytowy, aby zapewnić normalne działanie. Aby uzyskać więcej informacji na temat lokalizacji instalacji rdzenia ferrytowego, należy zapoznać się z następującymi informacjami:(2.12.4-pl_PL) Podłączanie manipulatora i sterownika(2.12.4-pl_PL) Podłączanie sterownika i urządzenia Smart Pendant(2.12.4-pl_PL) Podłączanie sterownika i programatora ręcznego